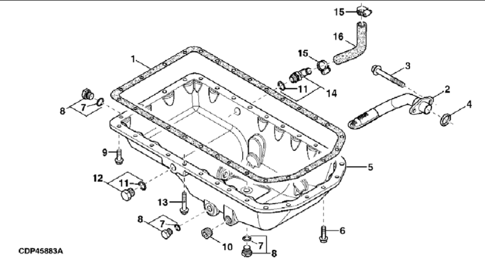
Item Part Description Quantity Variation Number 1954 1902 1 360527 Gasket, oil pan 1 1 GM50621 Gasket 1 2 360523 Oil pump intake 1 2 GM17542 Oil pump intake 1 3 # Screw, M8 x 100 2 2 4 224035 O-ring 1 1 5 360529 Oil pan 1 5 GM17532 Oil pan 1 6 # Screw, M8 x 30 6 6 # Screw, M8 x 20 6 7 360176 O-ring 1 1 8 360014 Plug 3 2 9 # Screw, M8 x 25 18 9 # Screw, M8 x 16 22 10 # Pipe plug, 3/4 in. 1 1 11 GM17437 O-ring 1 12 GM17498 Fitting 1 13 # Screw, M8 x 45 4 14 GM17512 Elbow fitting 1 15 360062 Clamp 2 16 224055 Hose 1 # Common hardware; procure locally.
